Published:2009/7/10 23:46:00 Author:May | From:SeekIC

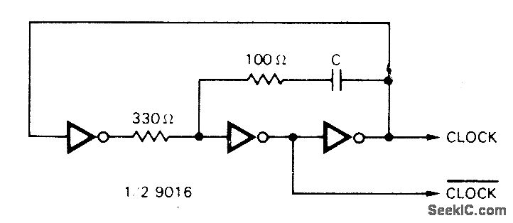
Simple TTL clock generator is suitable for most TTL systems. Requires only half of hex inverter package and three passive com ponents. Clock frequency depends on value of C: 200 pF gives 5 MHz; 1600 pF gives 1 MHz; 0.018 μF gives 100 kHz; and 0 18 μF gives 10 kHz.-Circuits, 73 Magazine, Aug. 1974, p 99.
Reprinted Url Of This Article:
http://www.seekic.com/circuit_diagram/Basic_Circuit/RC_CLOCK.html
Print this Page | Comments | Reading(3)
Code: