Published:2009/7/6 3:17:00 Author:May | From:SeekIC

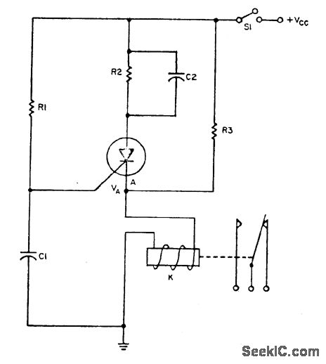
Circuit NotesThe relay operates a certain time, td, after power is applied to it, and then it operatesfor a leng付1 of time, tCThe SCR fires when the voltage on C1 reaches VA.This operatesthe relay, which stays activated until the current charging C2 drops below the dropoutcurrent. 10 keep the relay In its activated position indefinitely(tc=∞), ellmlnate C2and choose R2 just large enough to keep the relay coil current within its related limits, Typical component values for td=30 seconds and tc=2 seconds are∶ R1=1.5megohms, R2 = 10 k ohms, R3 =3 k ohms, C1=47μF, and C2 =100μF. TheSCR is a 2N1877 and the relay is a Potter Brumfield PW-5374. A value of 12 Vdc ISassumed for Vcc.
Reprinted Url Of This Article:
http://www.seekic.com/circuit_diagram/Basic_Circuit/RELAY_DRIVER_PROVIDES_DELAΥ_AND_CONTROLS_CLOSURE_TIME.html
Print this Page | Comments | Reading(3)
Code: