Published:2009/7/8 23:29:00 Author:May | From:SeekIC

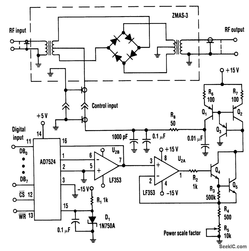
A balanced mixer is used as a control element in this circuit. An Analog Devices AD7524 D/A con-verter drives a voltage-controlled current source using two LF353s and several transistors to control the balanced mixer, a Mini Circuits Lab Z MAS-3
Reprinted Url Of This Article:
http://www.seekic.com/circuit_diagram/Basic_Circuit/RF_ATTENUATOR.html
Print this Page | Comments | Reading(3)
Code: