Published:2009/7/10 4:23:00 Author:May | From:SeekIC


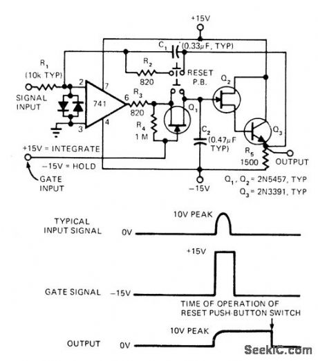
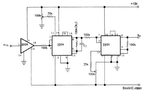
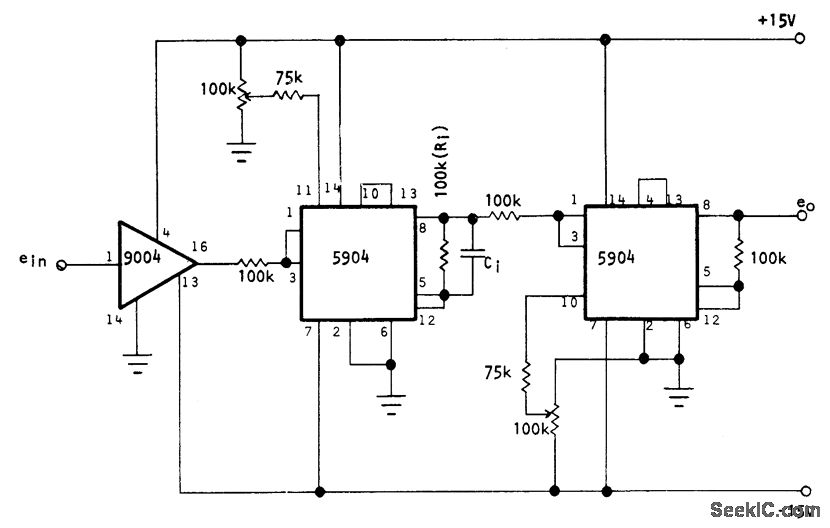
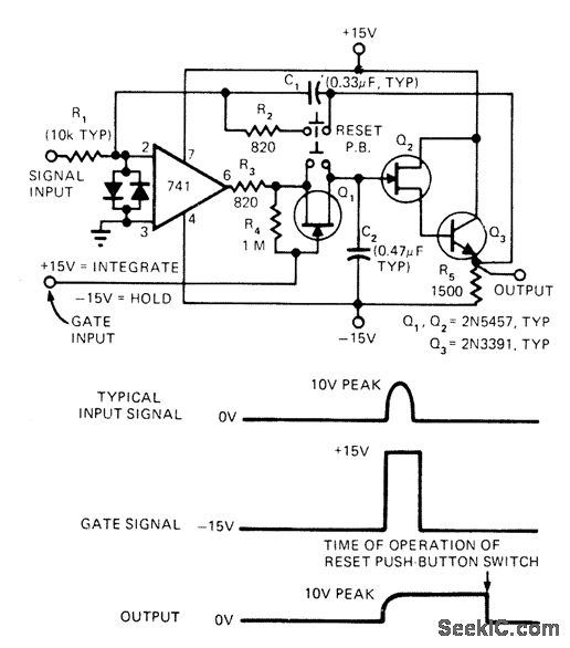
Converts analog voltage to RMS equivalent by squaring operation followed by integration and squarerooting. Bipolar input signal is first converted into linear absolute value with Optical Electronics 9004 absolutevalue module, as required for processing by 5904 unipolar devices. Pots are used to establish 10-V full-scale level.R1C1is integration time constant.- Simple RMS Converter, Optical Electronics, Tucson, AZ, Application Tip 10246.
Reprinted Url Of This Article:
http://www.seekic.com/circuit_diagram/Basic_Circuit/RMS_CONVERTER.html
Print this Page | Comments | Reading(3)
Code: