Published:2009/7/7 22:24:00 Author:May | From:SeekIC

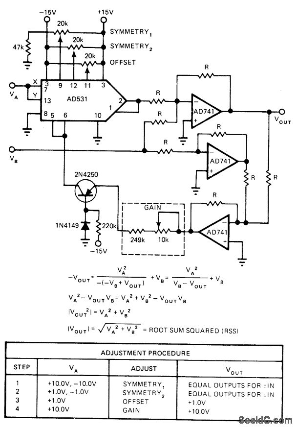
Vector summation circuit uses AD531 variable-gain analog multiplier. Starting with trimpots centered and input VB grounded, apply specified DC voltages to input VA and adjust trimpots for output specified in table.-R. Frantz, Analog Multipliers-New IC Versions Manipulate Real-World Phenomena with Ease, EDN Magazine, Sept. 5, 1977, p 125-129.
Reprinted Url Of This Article:
http://www.seekic.com/circuit_diagram/Basic_Circuit/ROOT_SUM_SQUARED.html
Print this Page | Comments | Reading(3)
Code: