Published:2009/6/29 3:50:00 Author:May | From:SeekIC

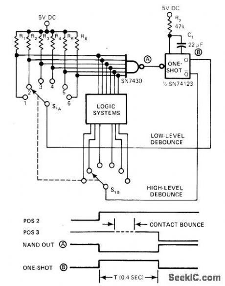
Outputs from mono (one-shot) provide common retums for rotary switch. Multi-input NAND gate, tied to normally high signals from one deck of rotary swhch, instantly detects opening of one contact and triggers mono. Mono then simulates open contact for interval determined by values used for R7 and C1; for values shown, delay is 400 ms.—E. S. Peltzman, Circuit Eliminates Rotary-Switch Bounce Problems, EDN Magazine, April 20, 1978, p 132.
Reprinted Url Of This Article:
http://www.seekic.com/circuit_diagram/Basic_Circuit/ROTARY_SWITCH_DEBOUNCE.html
Print this Page | Comments | Reading(3)
Code: