Published:2009/7/13 23:24:00 Author:May | From:SeekIC

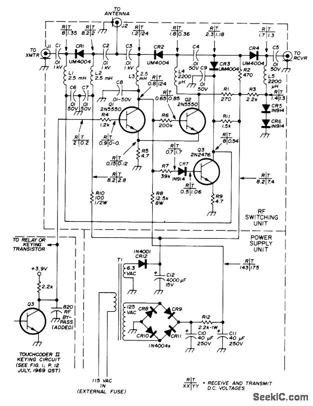
Provides eight combinations of four transmit and four receive frequencies under digital control using same four wires going to control head originally in four-channel commercial FM mobile transceiver. Also pro-vides scanning of up to eight receive channels. Uses SN7442 BCD-to-decimal decoder. Switch in original control head is rewired to count in BCD format. Carrier-operated circuit stops clock when signal is received during scanning, and readout device displays number of channel being received. Clock is UJT 02 with 500K pot varying scanning rate. Article covers construction and testing.-C. Durst, Scanning Adapter for FM Transceivers, 73 Magazine, April 1973,p73-78.
Reprinted Url Of This Article:
http://www.seekic.com/circuit_diagram/Basic_Circuit/SCANNER.html
Print this Page | Comments | Reading(3)
Code: