Published:2009/7/5 23:01:00 Author:May | From:SeekIC

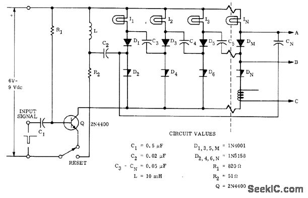
Ring counter using four-layer diodes DN provides sequential switching of loads under control of input pulse-train signal. Indicator lamps are shown, but any load from 15 to 200 mA can be switched. After power is applied, reset switch must be pressed to establish current through L.When switch is released, this current fiows through C2 and breaks down D2, allowing current to flow through first lamp I1. Input pulse to transistol Q (normally held off by current through R1)turns Q off and removes power from diode circuits, thus turning I1 and D2 off. At end of input pulse, a comes on and restores power to diode circuits, but all loads will be turned off.Voltage on C3 now adds to 6 V normally across D4, making D4 break down and turn on I2. Next input pulse will breakdown D6 in same manner.Output signals may be picked up as negative pulses at A or B or by current-sensing at C if required for controlling larger loads,-J. Bliss and D. Zinder, 4-Layer and Current-Limiter Diodes Reduce Circuit Cost and Comptexity, Motorola, Phoenix, AZ, 1974, AN-221, p 5.
Reprinted Url Of This Article:
http://www.seekic.com/circuit_diagram/Basic_Circuit/SEQUENTIAL_SWITCHING_OF_LOADS.html
Print this Page | Comments | Reading(3)
Code: