Published:2009/7/11 2:27:00 Author:May | From:SeekIC

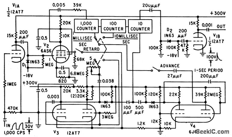
Locally genemted pulses can be easily synchronized with pulses from WWV to see clocks associated with frequency standard. Changes in period of pulses from counter-type frequency dividers are made with precision vernier. Any 10-stable divider can be used in counler circuit.-E. F.Wilson, Using Divider Vernier to Synchronize Pulses, Electronics, 32:27,p44-45.
Reprinted Url Of This Article:
http://www.seekic.com/circuit_diagram/Basic_Circuit/SETTING_CLOCK_TO_WWV.html
Print this Page | Comments | Reading(3)
Code: