Published:2009/7/14 21:35:00 Author:May | From:SeekIC


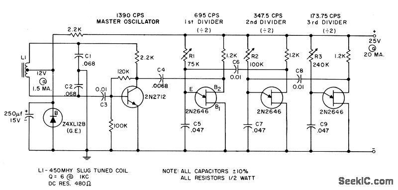
Each 3N60 stage divides input frequency by 10 while serving as relaxation oscillator, for frequencies from 250 kc down to fraction of cycle. Circuit can also be used as sawtooth generator.-R. J. Wold, 4-lerminal Controlled Switch Divides Frequencies by 10, Electronics, 37:18, p 81-82.
Reprinted Url Of This Article:
http://www.seekic.com/circuit_diagram/Basic_Circuit/SILICON_CONTROLLED_SWITCHES_DIVIDE_FRE_QUENCY_BY_100.html
Print this Page | Comments | Reading(3)
Code: