Published:2009/7/13 2:53:00 Author:May | From:SeekIC

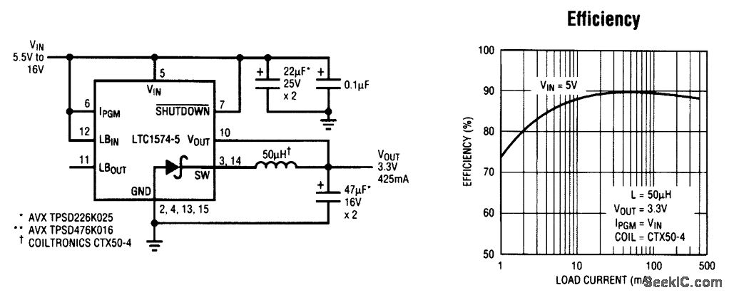
In portable logic systems requiring mixed 5-V and 3.3-V supplies, space and efficiency are paramount. Enter the LTC1574-3.3, a small and simple solution that provides over 90 percent efficiency.The LTC1574-3.3 features an intemal Schottky diode, reducing the external component count to just three parts. This high-efficiency circuit uses all surface-mount components, and employs Burst Mode operation to extend high efficiency to low current levels (see graph). A low-loss internal power MOSFET (RDS = 1.2 Ω is typical for this circuit) switch and constant off-time architecture are key in achieving this high efficiency. The LTC1574 can be shut down, limiting the supply current to 25 μA (max).
Reprinted Url Of This Article:
http://www.seekic.com/circuit_diagram/Basic_Circuit/SIMPLE_5_V_TO_33_V_CONVERTER.html
Print this Page | Comments | Reading(3)
Code: