Published:2009/7/7 21:05:00 Author:May | From:SeekIC


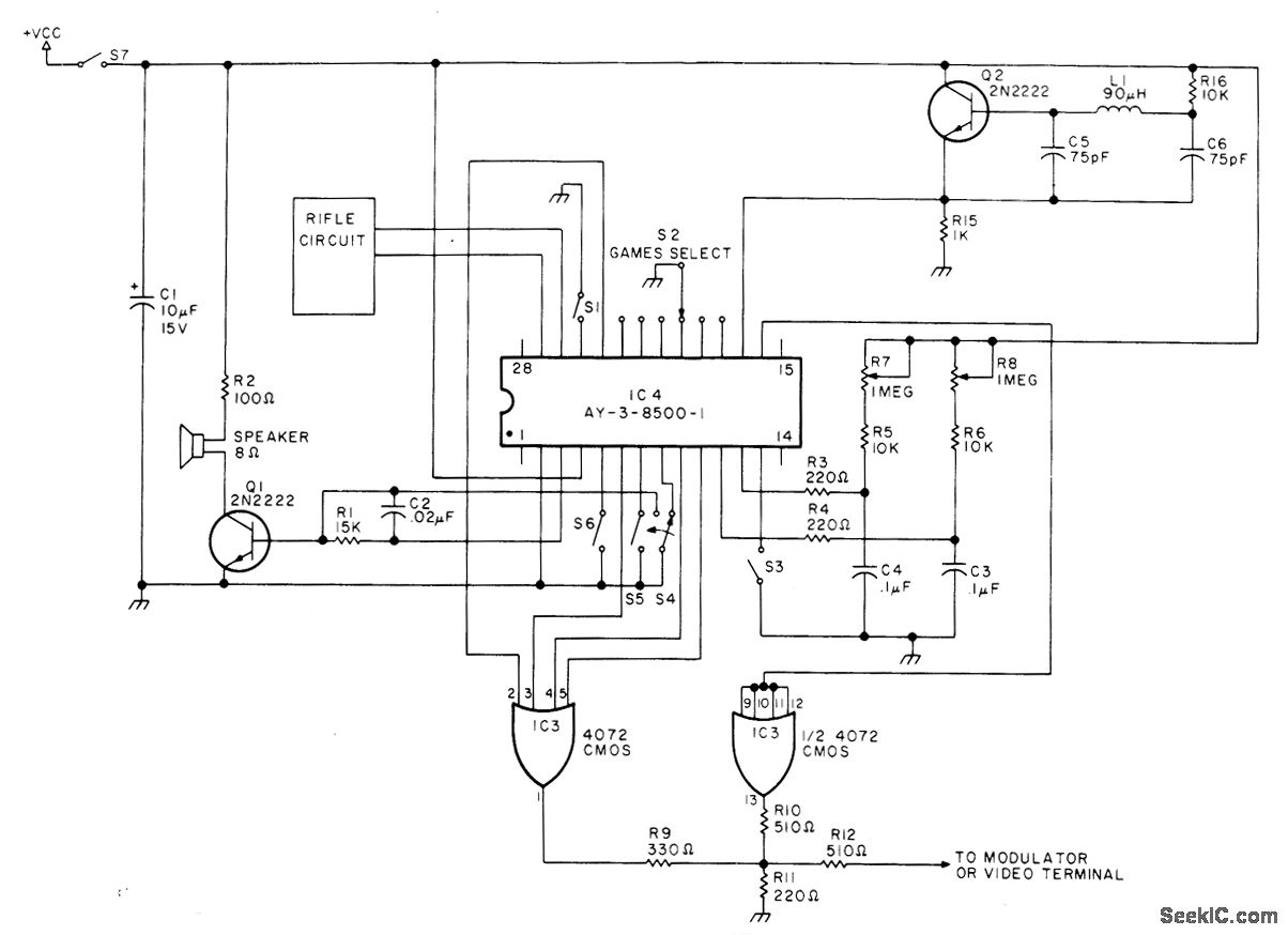
General Instruments AY-3-8500-1 MOS chip gives choice of hockey, squash, tennis, two types of rifle shoot, and practice games, all with sound effects and automatic scoring on 0-15 display at top of TV screen.Can be used with standard TV receiver (using RF modulator circuit) or with video monitor, S4 grounds base of Q1 when in manualserve mode, to eliminate steady boing when ball leaves playing field. R5-R8 position players on field.Article covers operation in detail and gives suitable rifle circuit. Supply is +6V. 2-MHz clock is at upper right.-A. Dorman, Six Games on a Chip, Kilobaud,Jan. 1977, p 130, 132, 134, 136, and 138.
Reprinted Url Of This Article:
http://www.seekic.com/circuit_diagram/Basic_Circuit/SIX_GAME_VIDEO.html
Print this Page | Comments | Reading(3)
Code: