Published:2009/7/10 3:47:00 Author:May | From:SeekIC

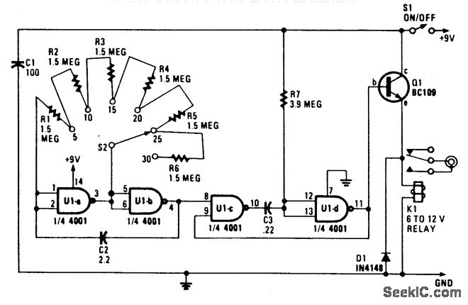
A 4001 CMOS Quad NORgate is set up as an astable multivibrator, which drives a simple differentia-tor and relay driver. Depending on the setting of S2, a delay of 5 to 30 seconds is generated. S2 and R1 through R6 can be replaced by a single 10-MΩ pot, if desired.
Reprinted Url Of This Article:
http://www.seekic.com/circuit_diagram/Basic_Circuit/SLIDE_PROJECTOR_AUTO_ADVANCE.html
Print this Page | Comments | Reading(3)
Code: