Published:2009/7/3 3:05:00 Author:May | From:SeekIC



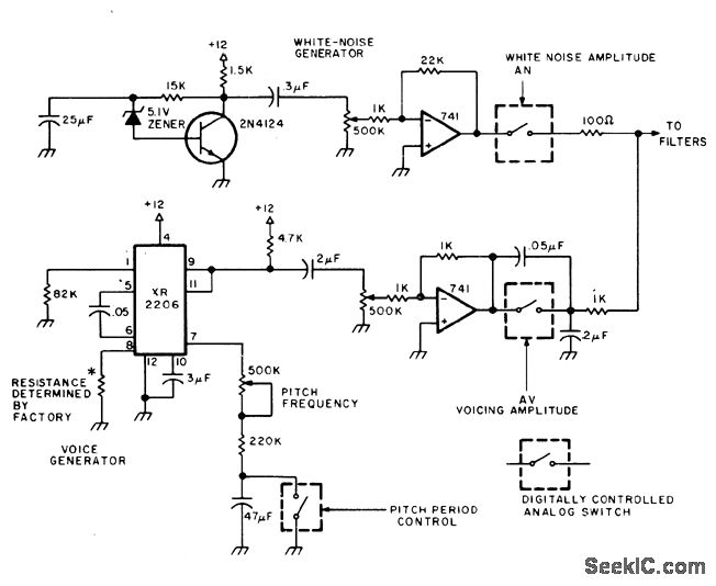
Based on analog simulation of vocal tract. Rush of air through vocal passages is simulated by white-noise generator, while action of larynx is simulated in lower branch of circuit. Article covers problems involved in achieving transitions from phoneme to phoneme, along with automatic emphasis of leading or terminating consonants and intonation of rhythm associated with importance or placement of word in speech. ASCII symbols are given for 33 phonemes generated in A1Cybernetic Systems model 1000 speech synthesizer, which uses circuit shown in combination with 10 active filters composed of 15 opamps, vocal excitation circuits, ASCII character decoders, and phoneme memories.-W. Atmar, The Time Has Come to Talk, Byte, Aug. 1976, p 26-30 and 32-33
Reprinted Url Of This Article:
http://www.seekic.com/circuit_diagram/Basic_Circuit/SPEECH_SYNTHESIZER.html
Print this Page | Comments | Reading(3)
Code: