Published:2009/7/24 2:32:00 Author:Jessie | From:SeekIC

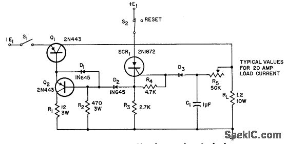
Simulates electrical characteristics of primer or squib of propellant-actuated fastener used in missiles and space systems for vehicle separation. Has very low impedance prior to firing, and infinite impedance after firing. Useful for testing firing circuits in laboratory where firing of actual squib would create disturbing sound.-C. S. Lewis, Electronic Squib Simulator, EEE, 10:9, p 24-25.
Reprinted Url Of This Article:
http://www.seekic.com/circuit_diagram/Basic_Circuit/SQUIB_SIMULATOR.html
Print this Page | Comments | Reading(3)
Code: