Published:2009/7/10 4:07:00 Author:May | From:SeekIC

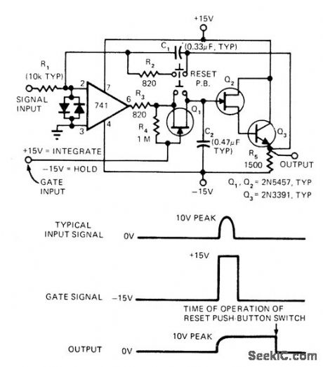
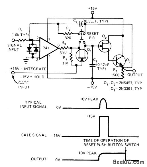
Modifiedsample-and-hold circuit with capacitive feed-back combines integrate,sample,and holdfunctions,fotuse In temporarily storing output of integrator Integrating amplifieris 741 opamp; for critical applications,FET opamp is preferable.-E. crovella, Circuit Combines Integrate,Sample and Hold Functions,EDN Magazine,Oct,20,1974, p 90.
Reprinted Url Of This Article:
http://www.seekic.com/circuit_diagram/Basic_Circuit/STORING_INTEGATOR_OUTPUT.html
Print this Page | Comments | Reading(3)
Code: