Published:2012/8/16 20:26:00 Author:Ecco | Keyword: switch , power , thick-film , integrated circuit | From:SeekIC


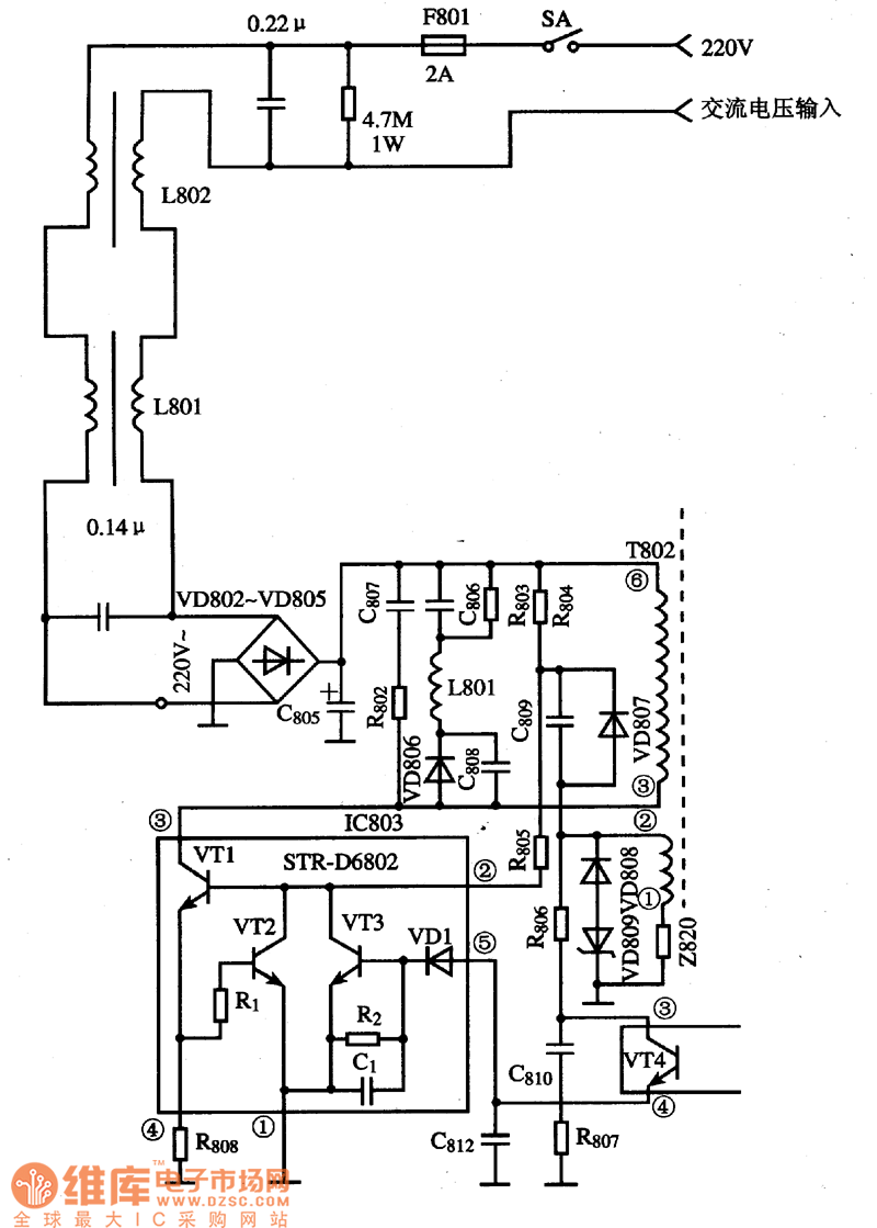
STR-D6802 is the switching power thick-film integrated circuit produced by Japan Sanyo, and it is widely used in large screen color TV and DVD player.(1) Features and functionsSTR-D6802 IC contains the start, oscillation, driver, overcurrent protection circuits.(2) pin functions and dataSTR-D6802 uses a separate pin package, and the pin functions and data are shown in following Table .(3) Typical application circuit
Reprinted Url Of This Article:
http://www.seekic.com/circuit_diagram/Basic_Circuit/STR___D6802_switch_power_thick_film_integrated_circuit_diagram.html
Print this Page | Comments | Reading(3)
Code: