Published:2009/7/20 2:23:00 Author:Jessie | From:SeekIC

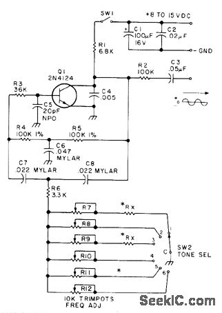
Six-channel subaudible encoder uses twin-T oscillator covering 93 to 170 Hz. Tones are adjustable with 20-turn 10K trimpots. Used with 2-meter amateur transmitters to access and maintain signal through repeater having subaudible tone decoder, When transmitted signal opens up receiver of repeater, subaudible tone on incoming audio closes relay and permits transmitter to key up and repeat signal, Choice of tones permits use of different repeaters in given area. For 93-107 Hz, use 12K for RX; for 98-116 Hz, use 8.2K; and for 114-170 Hz, use jumper. Article gives construction details.-W. G. Moneysmith, Subaudible Tone Encoder, 73 Magazine, Oct. 1977, p 52-53.
Reprinted Url Of This Article:
http://www.seekic.com/circuit_diagram/Basic_Circuit/SUBAUDIO_TONES.html
Print this Page | Comments | Reading(3)
Code: