Published:2011/6/27 1:30:00 Author:Nicole | Keyword: Smoking telltale | From:SeekIC

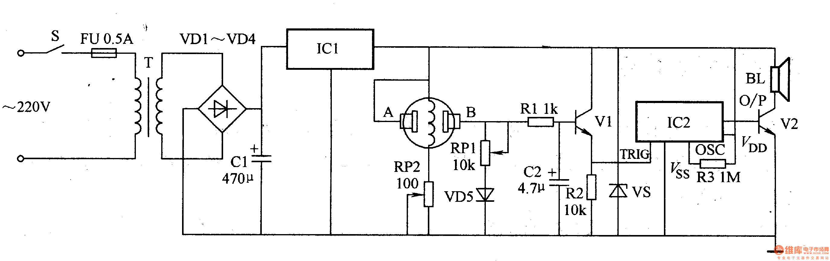
This smoking telltale circuit is composed of power supply, smog detector circuit and pronunciation circuit, it is shown in the figure 9-153.
The power supply is made of power supply transformer T, rectifier diodes VD1-VD4, filter capacitor C1 and three terminals integrated regulator IC1.
The smog detector circuit consists of gas sensitivity sensor, transistor V1 and other peripheral devices.
The pronunciation circuit is composed of pronunciation integrated circuit IC1(internal store the pronunciation Do not smoking pronunciation prompt), audio amplifier tube V2 and loudspeaker BL.
Reprinted Url Of This Article:
http://www.seekic.com/circuit_diagram/Basic_Circuit/Smoking_telltale_1.html
Print this Page | Comments | Reading(3)
Code: