Published:2011/6/27 1:20:00 Author:Nicole | Keyword: Smoking telltale | From:SeekIC

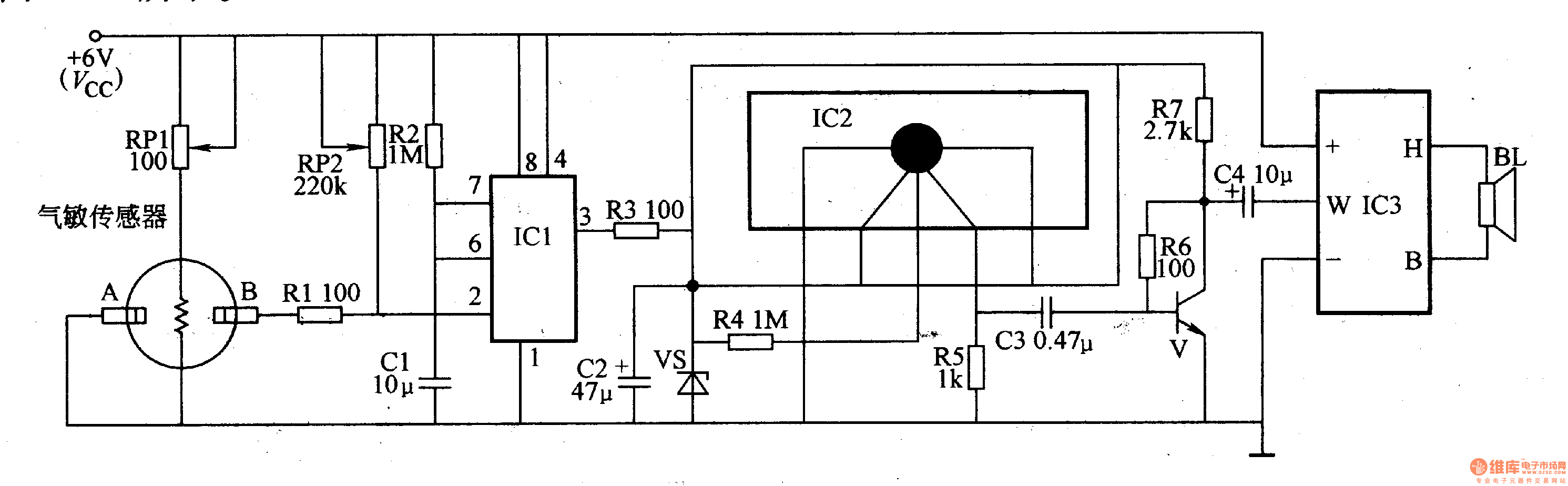
This smoking telltale circuit is composed of smog detector, monostable trigger, language generator and power amplifier circuit, it is shown in the figure 9-154.
The monostable trigger is made of time base integrated circuit IC1, resistor R2, capacitor C1 and potentiometer RP2.
The pronunciation generator circuit consists of language pronunciation integrated circuit IC2, resistors R3-R5, capacitor C2 and Zener diode VS.
The audio power amplifier circuit is composed of transistor V, boost power amplification module IC3, resistors R6, R7, capacitors C3, C4 and loudspeaker BL.
Reprinted Url Of This Article:
http://www.seekic.com/circuit_diagram/Basic_Circuit/Smoking_telltale_2.html
Print this Page | Comments | Reading(3)
Code: