© 2008-2012 SeekIC.com Corp.All Rights Reserved.
Published:2011/8/14 22:35:00 Author:Ecco | Keyword: Sound source selector | From:SeekIC

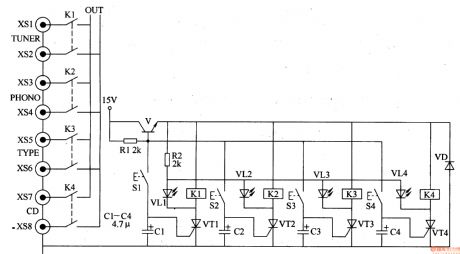
The sound source selector circuit is composed of the transistor V, diode VD, thyristors VTl-VW, control buttons Sl-S4, sound source indication LEDs VLl-VL4, relays Kl-K4, resistor Rl, audio input jacks XSI- XS8, and it is shown in Figure 3-203. Rl and R2 select the 1/4W or 1/8W carbon film resistors. Cl-C4 select the aluminum electrolytic capacitors with voltage in 16V. VD selects the lN4001 or 1N4007 silicon rectifier diode. VLl-VL4 use theφ3 or φ5mm light emitting diodes with different colors. V uses the S9014, C8050 or 3DGl2 silicon NPN transistors.
Reprinted Url Of This Article:
http://www.seekic.com/circuit_diagram/Basic_Circuit/Sound_source_selector.html
Print this Page | Comments | Reading(3)
Response in 12 hours
© 2008-2012 SeekIC.com Corp.All Rights Reserved.
Code: