Published:2011/6/12 22:59:00 Author:Lucas | Keyword: Spinner , Weft feelers | From:SeekIC

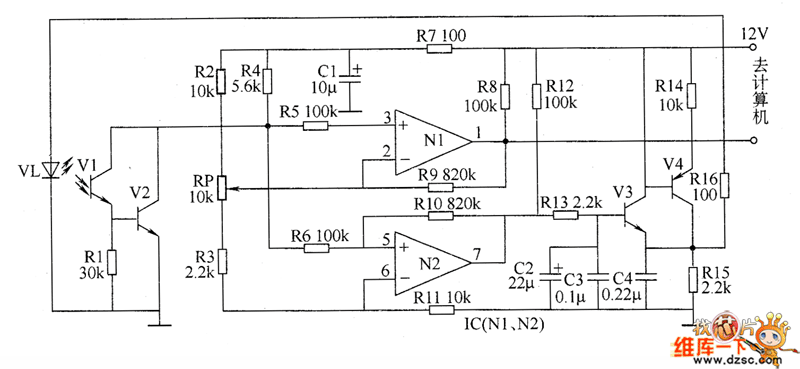
The spinner Weft feelers circuit consists of the optical signal amplifier and LED driver circuit, the circuit is shown as the chart. Optical signal detection amplifier circuit is composed of the infrared phototransistors V1 and V2, resistors R2 ~ R5 and R7 ~ R9, potentiometer RP, capacitor C1 and the N1 which is inside of the operational amplifier integrated circuit IC (N1, N2). LED driver circuit is composed of infrared light-emitting diode VL, transistors V3, V4, resistor sR2 ~ R4, R6, R10 ~ R16, potentiometer RP, capacitors C2 ~ C4 and the op amp N2 which is inside of the IC. R1 ~ R15 select 1/4W metal film resistors; R16 uses 1W metal resistor. RP uses small synthetic carbon potentiometer or variable resistor.
Reprinted Url Of This Article:
http://www.seekic.com/circuit_diagram/Basic_Circuit/Spinner_Weft_feelers_circuit_diagram.html
Print this Page | Comments | Reading(3)
Code: