Published:2009/7/8 1:11:00 Author:May | From:SeekIC



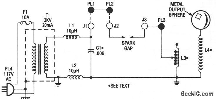
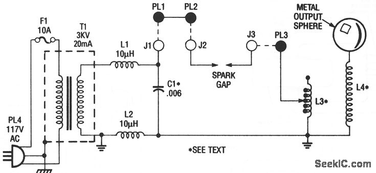
Power is fed to transformer T1, a small neon-sign transformer, which steps the voltage up to about 3000 Vac. The stepped-up output of T1 is fed through L1 and L2 and across C1, causing the capacitor to charge until enough power is stored in the unit to produce an arc across the spark gap. The spark gap, which momentarily connects C1 and L3 in parallel, determines the amount of current transferred between C1 and L3.The arcing across the spark gap sends a series of high-voltage pulses through L3, giving a sort of oscillated effect. The energy fed through L3 is transferred to L4 via the magnetic coupling between the two coils. Because of the turn ratio that exists between L3 and L4, an even higher voltage is produced across L4. Coil L4 steps up the voltage, which collects on the top-capacitance sphere. There, it causes an avalanche breakdown of the surrounding air, giving off a luminous discharge.The rotary spark gap is a simple add-on circuit for the Tesla Coil, consisting of a variable dc power supply and a small, 5000-rpm, dc motor. The circuit allows you to vary the output of the Tesla coil by adjusting the rotating speed of the motor. A rotary gap is far more efficient than a stationary gap, because the stationary gap could cut-out and require readjustment.
Reprinted Url Of This Article:
http://www.seekic.com/circuit_diagram/Basic_Circuit/TESLA_COIL.html
Print this Page | Comments | Reading(3)
Code: