Published:2009/7/2 1:40:00 Author:May | From:SeekIC

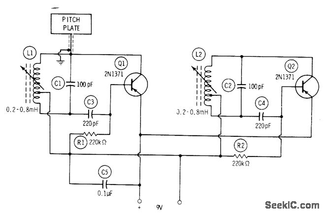
Two transistor oscillator stages generate separate low-power RF signal in broadcast band, for pickup by AM broadcast receiver. Movement of hand toward or away from metal pitch plate varies trequency of Q1, making audio output of receiver vary conespondingly as beat frequency changes. Both circuits are Hartley oscillators, using Miner 9012 or equivalent slug-tuned colls. To adjust initially, place next to radio and set tuning slug of L1 about two-thirds out of its winding. Set slug of L2 about one-third out of its winding. Tune radio until either oscillator signal is heard. Signal can be identified by whistle if on top of broadcast station or by quieting of background noise if between stations. Adjust slugs so whistle is heard at desired location ot quieting signal. Pitch of whistleshould change now ashand is brought near pitch plate.-J. P Shields, How to Build Proximity Detectors & Metal Locators, Howard W. Sams, Indianapolis, IN, 2nd Ed. 1972. p 154-156.
Reprinted Url Of This Article:
http://www.seekic.com/circuit_diagram/Basic_Circuit/THEREMIN.html
Print this Page | Comments | Reading(3)
Code: