Published:2009/7/14 3:35:00 Author:May | From:SeekIC

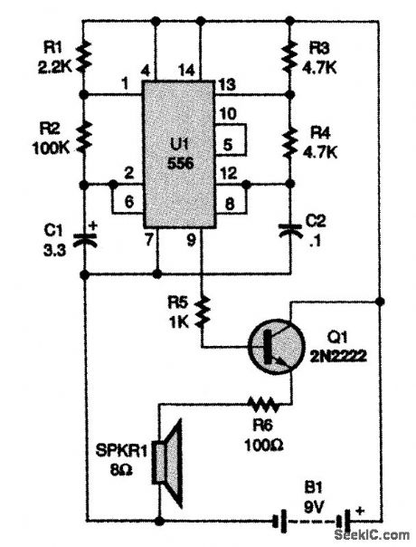
The tone-burst circuit puts out a 500-Hz tone, at a rate of 1 Hz, through an 8-Ω speaker, SPKR1. Besides the 9-V battery and its connecting snap, SPKR1 is the only non-surface-mount component in the circuit. The circuit can also be built from standard-size components.
Reprinted Url Of This Article:
http://www.seekic.com/circuit_diagram/Basic_Circuit/TONE_BURST_CIRCUIT.html
Print this Page | Comments | Reading(3)
Code: