Published:2009/7/10 21:52:00 Author:May | From:SeekIC

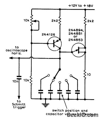
Designed for use with DC oscilloscopes. Constant-current UJT oscillator produces linear sawtooth for triggering Schmitt trigger and serving as hodzontal sweep voltage. Frequency is varied by switching capacitors, and can be up to about 100 kHz. Emitter-follower may have to be added to UJT output to prevent loading of timing capacitors by low impedance of Schmitt trigger. Used to quadruple maximum time-base frequency of oscilloscope.-J. A Titus. Trace Quadrupler, Wireless World, Oct. 1972, p 479.
Reprinted Url Of This Article:
http://www.seekic.com/circuit_diagram/Basic_Circuit/TRACE_QUADRUPLER.html
Print this Page | Comments | Reading(3)
Code: