Published:2009/7/7 5:08:00 Author:May | From:SeekIC

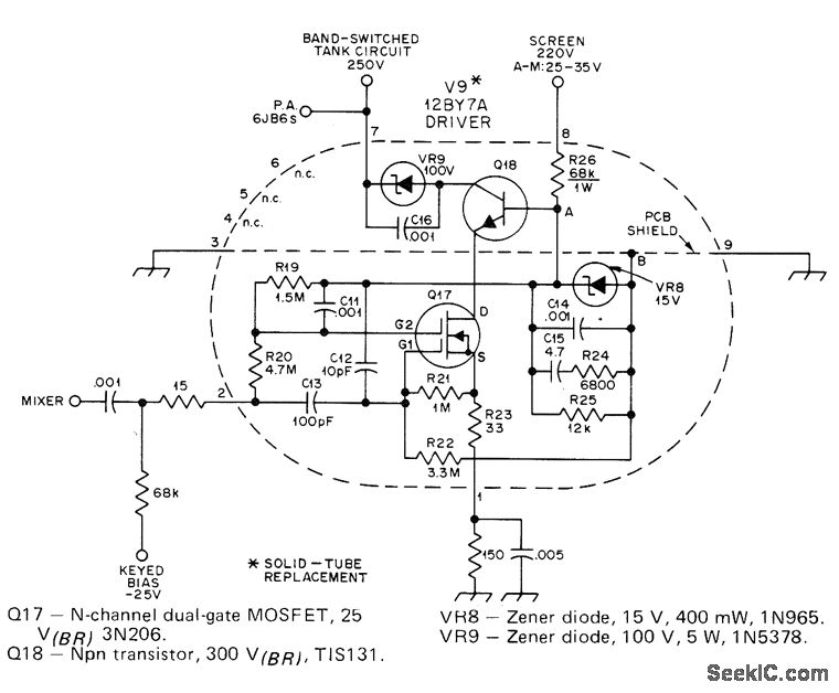
Solidstate replacement for 12BY7A power amplifier runs much cooler than tube. Shield is required between input and output circuits. Gate 2 is biased very high and gate 1 is close to source voltage, to permit maximum signal range with-out changing parameters. Bypassed zener VR9 prevents 100-V collector signal swing from exceeding transistor breakdown voltage. Solidstate replacements for other tube types in Drake T-4XB transmitter are also given in arti-cle.-H. J. Sartori, Solid-Tubes-a New Life for Old Designs, 057, April 1977, p 45-50.
Reprinted Url Of This Article:
http://www.seekic.com/circuit_diagram/Basic_Circuit/TRANSISTORS_FOR_DRIVER_TUBES.html
Print this Page | Comments | Reading(3)
Code: