Published:2009/7/8 22:27:00 Author:May | From:SeekIC


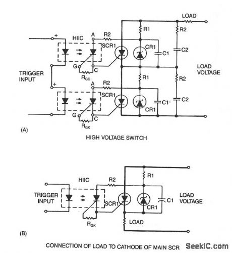
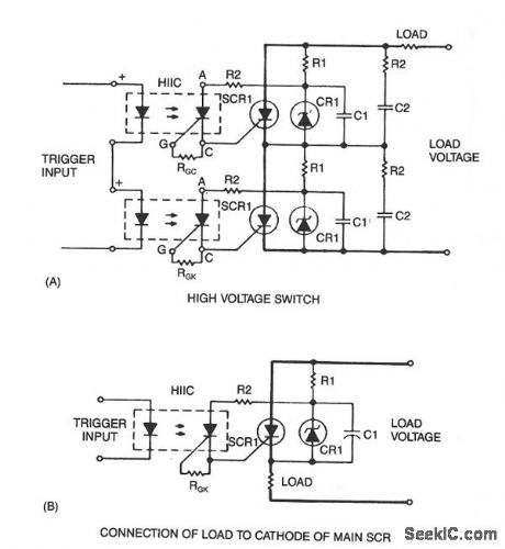
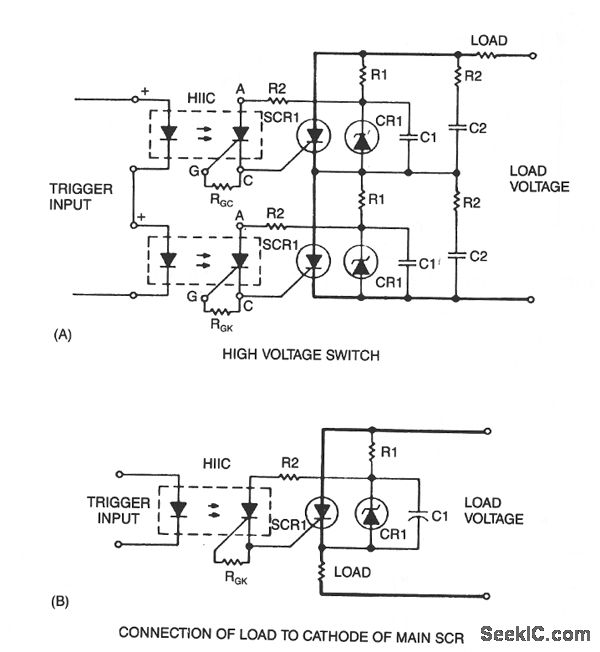
Snubber circuit R2C2, as shown, might be necessary since RI and C1 are tailored for optimized triggering and not for dV/dt protection. Fiber-optic pairs can be used with discrete SCRs to switch thousands of volts. A photon coupler with a transistor output will limit the trigger-pulse amplitude and rise time because of CTR and saturation effects. Using the H11C1, the rise time of the input pulse to the photon coupler is not critical, and its amplitude is limited only by the H11C1 turn-on sensitivity. The load can also be connected to the cathode as illustrated in Fig. 67-3B.
Reprinted Url Of This Article:
http://www.seekic.com/circuit_diagram/Basic_Circuit/TRIGGERING_SCR_SERIES.html
Print this Page | Comments | Reading(3)
Code: