Published:2009/7/1 21:32:00 Author:May | From:SeekIC

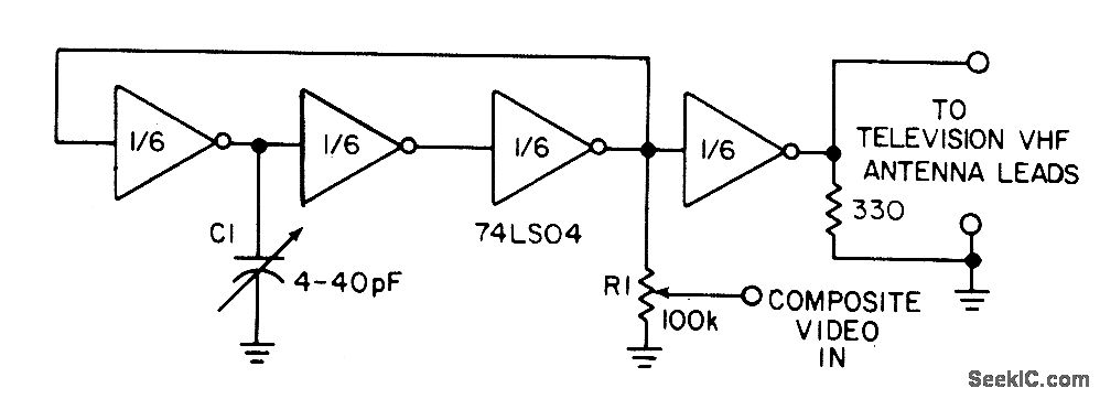
Three gates of a 74LS04 form the oscillator circuit. Capacitor C1 allows fine-frequency adjustment to a specific television channel and helps stabilize the circuit. Potentiometer R1 acts as the mixing input and provides adjustment of the contrast ratio for the best viewing. A fourth gate buffers and helps stabilize the oscillator.
Reprinted Url Of This Article:
http://www.seekic.com/circuit_diagram/Basic_Circuit/TTL_OSCILLATOR_INTERFACES_DATA_FOR_DISPLAY_BY_A_TELEVISION_SET.html
Print this Page | Comments | Reading(3)
Code: