Published:2009/7/7 21:02:00 Author:May | From:SeekIC

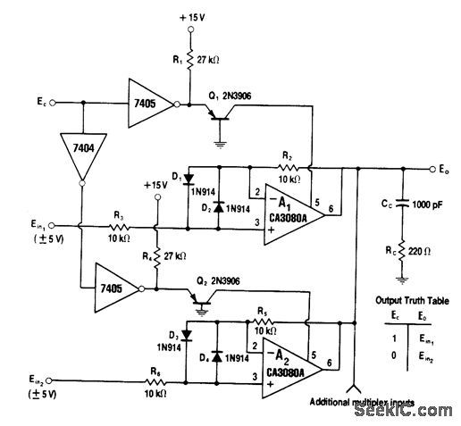
Two CA3080A operational transconductance amplifiers are programmed on and off alternately by control logic, for multiplexing two inputs each up to ±5 V into single output. When control line E, is high or 1, input 1 appears at output; for logic 0, input 2 appears at output. Both channels operate at unity gain. Control logic is TTL-compatible.-W. G. Jung, IC Op-Amp Cookbook, Howard W. Sams, Indianapolis, IN, 1974, p 458-462.
Reprinted Url Of This Article:
http://www.seekic.com/circuit_diagram/Basic_Circuit/TWO_CHANNE_LOGIC_CONTROLLED.html
Print this Page | Comments | Reading(3)
Code: