Published:2011/6/19 3:36:00 Author:Seven | Keyword: precise rectifier, integrating sub-circuit | From:SeekIC

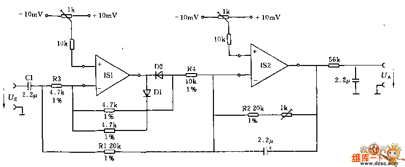
This circuit can switch the input DC signal into the DC signal. If the input signal is in a very low frequency, the input terminal capacitor C1 can be omitted.
In the forward half-cycle, the output terminal of op-amp IS1 is connected by diode D1, and it is separated in the same phase by D2. The op-amp IS2 is working as the inverting voltage follower. In the backward half-cycle, IS1 is the phase inverter and it is connected with the summing point by R2. On the input terminal, R3 and R2 compose a passive feedback circuit.
Reprinted Url Of This Article:
http://www.seekic.com/circuit_diagram/Basic_Circuit/The_precise_rectifier_circuit_with_the_integrating_sub_circuit.html
Print this Page | Comments | Reading(3)
Code: