Published:2011/5/6 3:39:00 Author:Ecco | Keyword: typical application circuit , IC | From:SeekIC

The typical application circuit
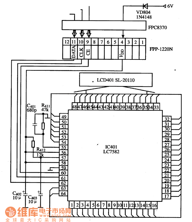
The display driver typical application circuit composed of LC7582 IC and SL一20110 display is shown as the chart.
The typical application circuit diagram of LC7582 IC is shown as the chart.
Reprinted Url Of This Article:
http://www.seekic.com/circuit_diagram/Basic_Circuit/The_typical_application_circuit_diagram_of_LC7582_IC.html
Print this Page | Comments | Reading(3)
Code: