Published:2011/6/29 20:06:00 Author:Nicole | Keyword: thermometer, meter slinger | From:SeekIC

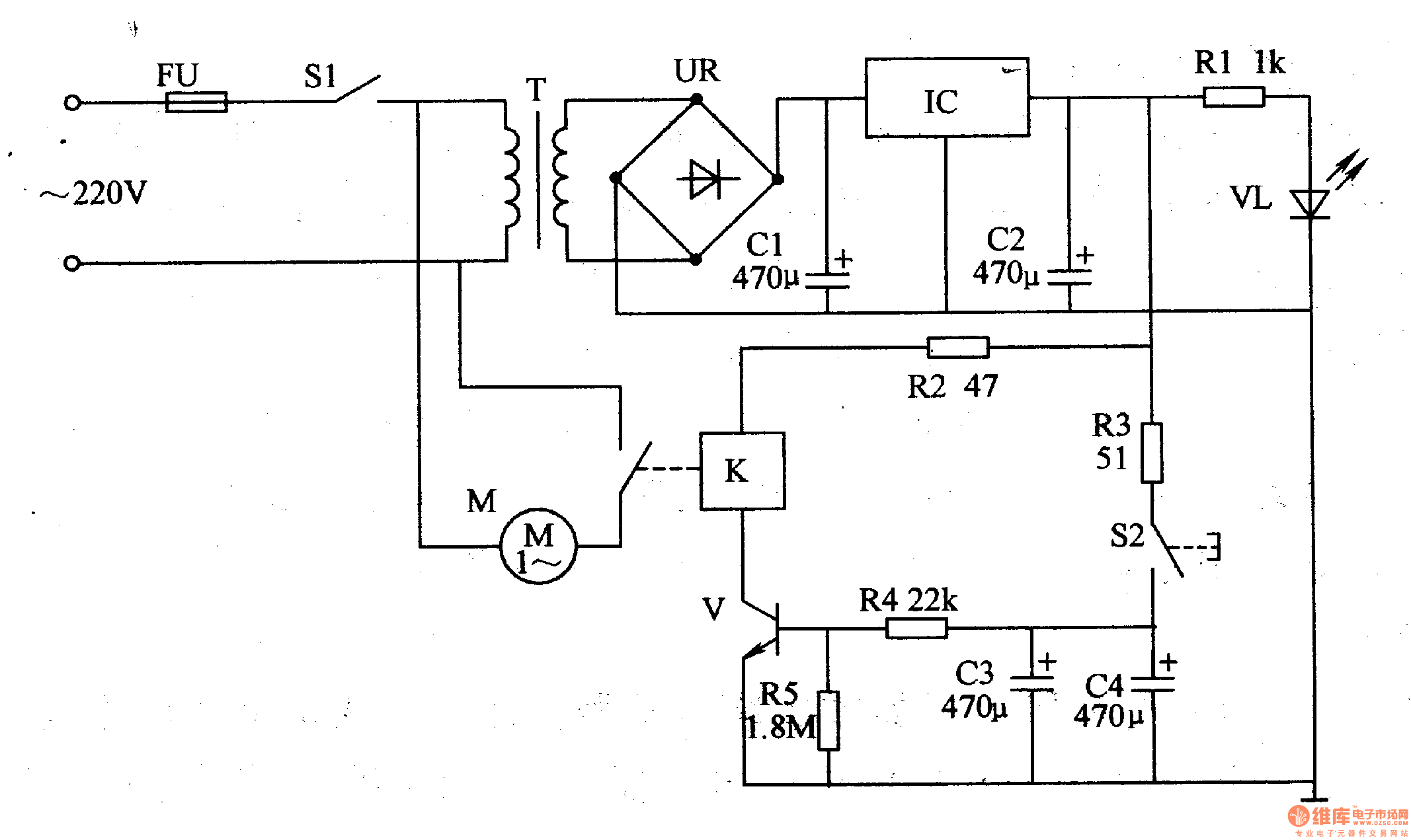
The thermometer meter slinger circuit is composed of power supply circuit and meter slinger timing control circuit, it is shown in the figure 9-134.
The power supply circuit is made of fuse FU, power supply switch S1, power transformer T, bridge rectifiers UR, filter capacitors C1, C2, there terminals steady voltage integrated circuit IC, current limiting resistor R1 and power supply indication LED VL.
After power supply switch S1 is turned on, 220V AC voltage is stepped down by T, it is rectified by UR, it is filtered by C1, it is stabilized by IC, it provides the timing control circuit with +12V voltage. +12V voltage is current limited and stepped down by R1, then it lights VL.
Reprinted Url Of This Article:
http://www.seekic.com/circuit_diagram/Basic_Circuit/Thermometer_meter_slinger_1.html
Print this Page | Comments | Reading(3)
Code: