Published:2011/6/29 20:14:00 Author:Nicole | Keyword: thermometer, meter slinger | From:SeekIC

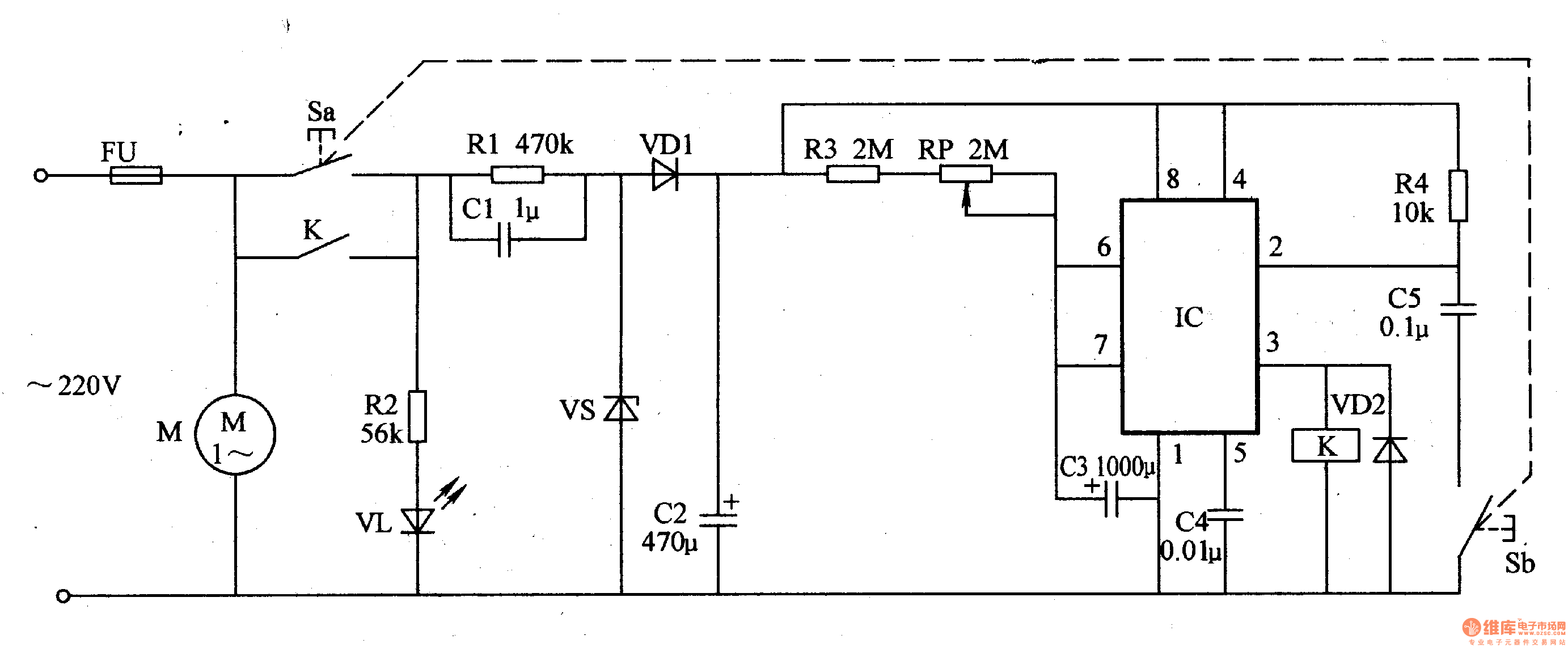
The thermometer meter slinger circuit is composed of power supply circuit and meter slinger timing control circuit, it is shown in the figure 9-135.
The power supply circuit is made of fuse FU, power supply button S(Sa, Sb), resistors R1, R2, capacitors C1, C2, power supply indication LED VL, steady voltage diode VS and rectifier diodes VD1.
The meter slinger timing control circuit consists of resistors R3, R4, potentiometer RP, capacitors C3-C5, relay K and diode VD2.
C3's charge time can be changed by adjusting RP, then it can control M's run time.
Reprinted Url Of This Article:
http://www.seekic.com/circuit_diagram/Basic_Circuit/Thermometer_meter_slinger_2.html
Print this Page | Comments | Reading(3)
Code: