Published:2009/7/10 5:24:00 Author:May | From:SeekIC

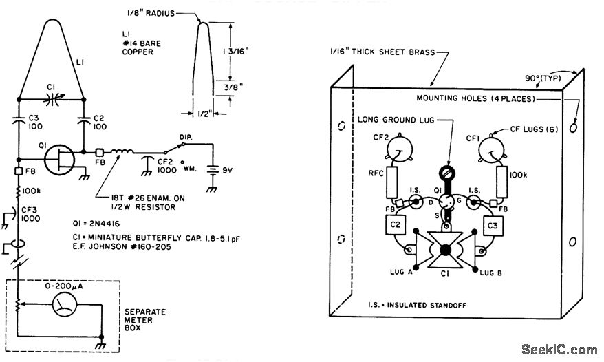
This dipper is useful for UHF experiments in the 420-to-450 MHz amateur band. Because layout can affect performance, follow Fig. 48-2(b)
Reprinted Url Of This Article:
http://www.seekic.com/circuit_diagram/Basic_Circuit/UHFSOURCEDIPPER.html
Print this Page | Comments | Reading(3)
Code: