Published:2009/6/30 3:14:00 Author:May | From:SeekIC

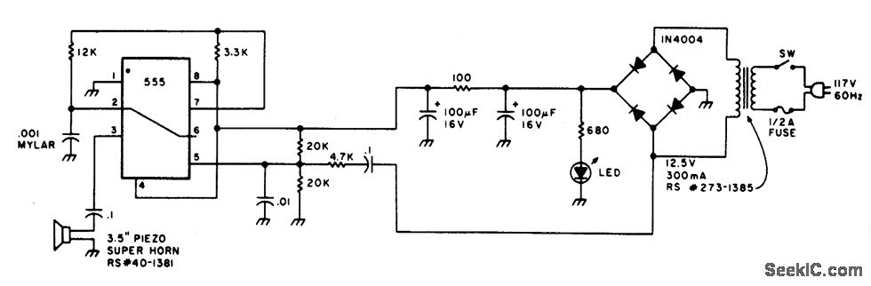
Low-intensity ultrasonic sound waves in the 30-45 kHz frequency band repel insects and small rodents. The unit is designed to generate a swept square wave from 30 to 45 kHz. The LM555 IC is wired as an ultrasonic oscillator driving a piezoelectric speaker of the hi-fi super-tweeter type. The output of the oscil-lator is swept by a 60-Hz signal from the ac input of the bridge rectifier. The LED acts as a pilot.
Reprinted Url Of This Article:
http://www.seekic.com/circuit_diagram/Basic_Circuit/ULTRASONIC_BUG_CHASER.html
Print this Page | Comments | Reading(3)
Code: