Published:2009/7/14 21:30:00 Author:May | From:SeekIC

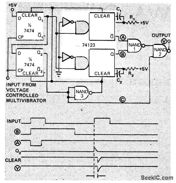
Used to indicate when pulse voltage goes outside preset limits for pulse period. Output pulse rate of voltage-controlled MVBR is monitored to implement double-ended limit detector consisting of 2-bit shift register, two monos, inverter, and two NAND gates. Circuit compares period of input pulses to preset maximum and minimum limits. Output at Y goes low whenever input pulse rate is outside limits, which are deter-mined by R1C1 and R2C2 time constants.-B. Brandstedt, Double-Ended Limit Detector Senses Voltage with VCO, EDN Magazine, Nov. 15, 1972, p 47-48.
Reprinted Url Of This Article:
http://www.seekic.com/circuit_diagram/Basic_Circuit/VCO_SENSES_VOLTAGE_LIMITS.html
Print this Page | Comments | Reading(3)
Code: