Published:2009/6/29 23:56:00 Author:May | From:SeekIC

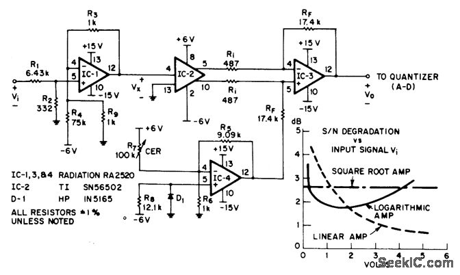
Nonlinear function amplifier IC-2 compresses video input signals as required to compensate for inefficient quantization where there are too many levels for small signals and too few levels for large signals. Designed to feed 6-bit analog-to-digital converter, IC-1 attenuates input -20 dB and shifts level.Output of IC-2 is amplified by IC-3 to voltage range comparable to that of input signal. IC-4 acts as temperature compensator and output level shifter. R7 nulls small output offsets.—J.B. Frost, Non-Linear Function Amplifier, EEE Magazine, March 1971, p 78.
Reprinted Url Of This Article:
http://www.seekic.com/circuit_diagram/Basic_Circuit/VIDEO_COMPRESSOR.html
Print this Page | Comments | Reading(3)
Code: