Published:2009/7/10 1:55:00 Author:May | From:SeekIC

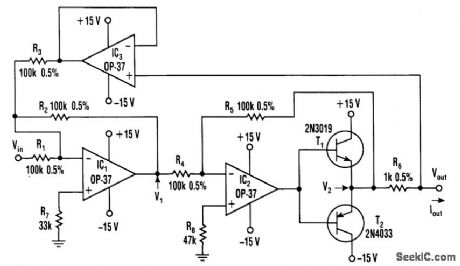
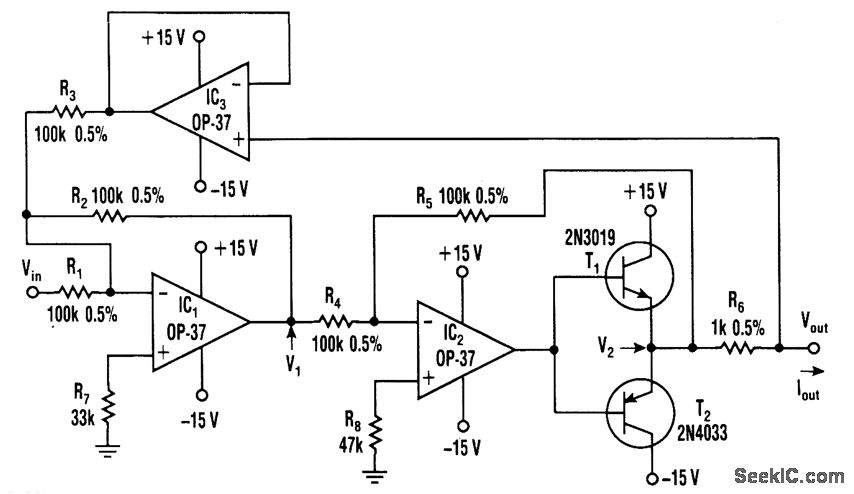
This voltage to current converter uses three op amps to drive a pair of power transistors. The current output is calculated as:
IOUT=Vin/R6
Output resistance is over 50 MΩ. IOUT can range from 1 mA to the current ratings of T1 and T2.
Reprinted Url Of This Article:
http://www.seekic.com/circuit_diagram/Basic_Circuit/VOLTAGE_TO_CURRENT_CONVERTER.html
Print this Page | Comments | Reading(3)
Code: