Published:2009/7/15 3:34:00 Author:Jessie | From:SeekIC

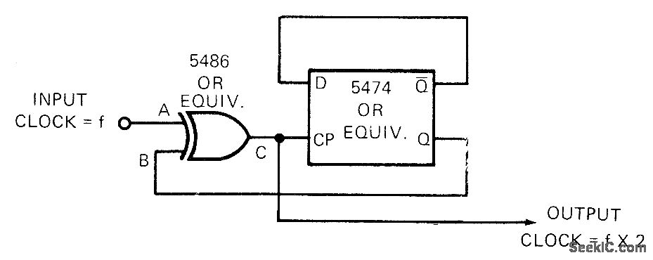
Circuit generates square-wave output pulse for each edge of square-wave input. EXCLUSIVE-OR gate is used as programmable inverter that returns point C to quiescent low state following each transfer of data through 5474 IC. When used for frequency-doubling, input waveform should be symmetrical because output is proportional to propagation delay of flip-flop plus delay of 5486 EXCLUSIVE-OR gate.-D. Giboney, Double-Edge Pulser Uses Few Parts, EDN Magazine, Dec. 15, 1972, p 41.
Reprinted Url Of This Article:
http://www.seekic.com/circuit_diagram/Basic_Circuit/WAVEFORM_EDGE_PULSER.html
Print this Page | Comments | Reading(3)
Code: