Published:2009/7/9 21:46:00 Author:May | From:SeekIC

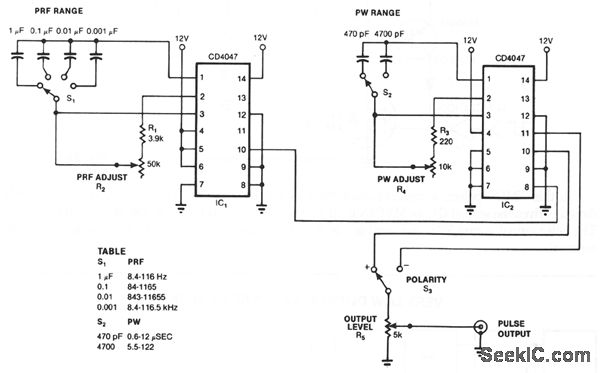
An output pulse's characteristics depend upon two multivibrator's timing components. IC1's free-running astable-mode frequency sets the pulse's prf, whereas the pulse's width comes from IC2's monostable operation.
Reprinted Url Of This Article:
http://www.seekic.com/circuit_diagram/Basic_Circuit/WIDE_RANGING_PULSER.html
Print this Page | Comments | Reading(3)
Code: