Published:2009/7/6 2:10:00 Author:May | From:SeekIC

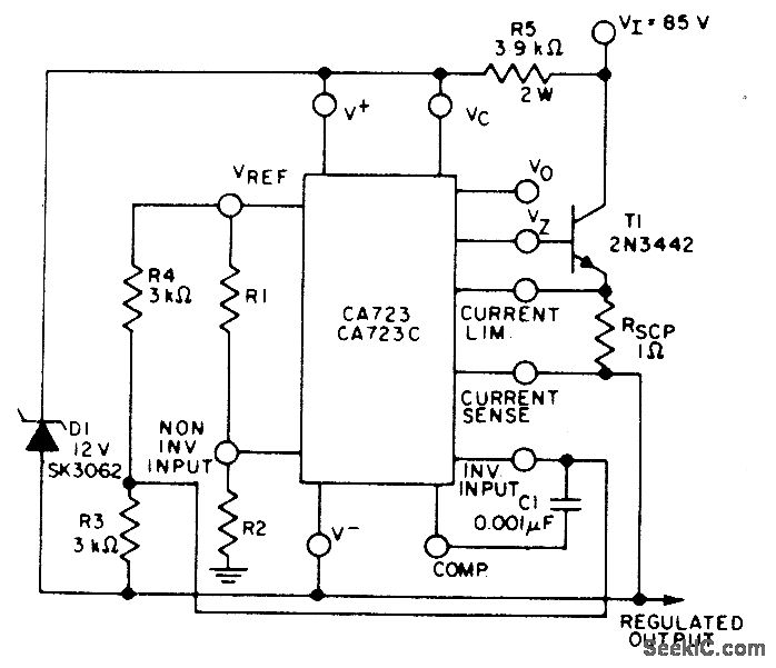
RCA CA723 regulator operating from 85-V supply delivers 50 V with Iine regulation of 15 mV for 20-V supply change and load regulation of 20 mV for 50-mA load current change.- Linear Integrated Circuits and M0S/ FET' s, RCA Solid State Division, Somerville, NJ, 1977, p 61.
Reprinted Url Of This Article:
http://www.seekic.com/circuit_diagram/Basic_Circuit/_50_V_FLOATING.html
Print this Page | Comments | Reading(3)
Code: