Published:2011/7/19 23:42:00 Author:chopper | Keyword: oil crop, screening, compaction controller | From:SeekIC

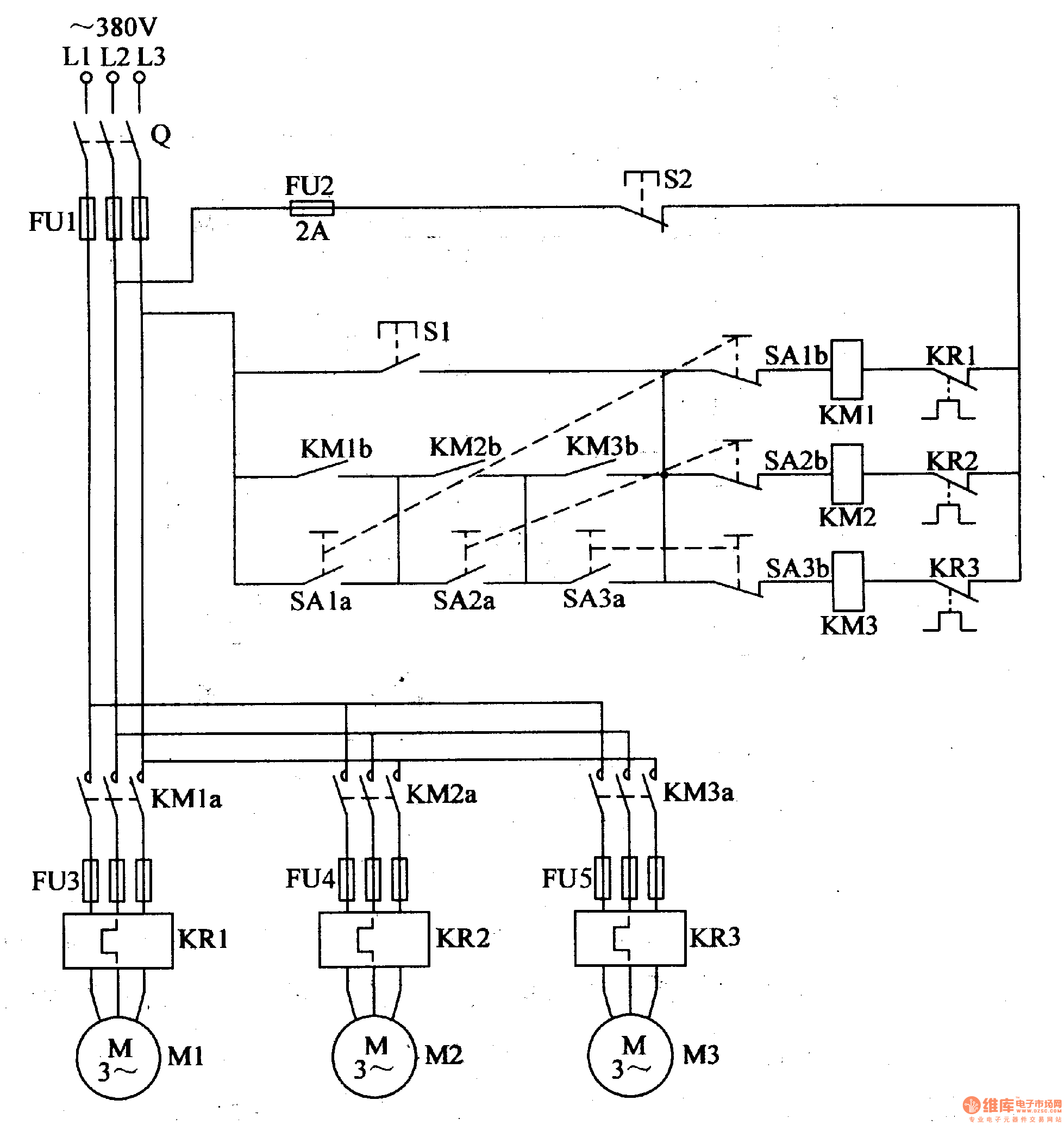
The oil crop(such as soybean,peanut,etc.) of rural small oil mill will be loaded to screening machine to sift through bucket conveyor before oil expression.After removing impurities,the crop will be loaded to the rolling billet machine,and then parch and squeeze the semifinished product.This example describes the oil crop screening and compaction controller,which can uses a start button to start the conveyor, screening machine and the motor of rolling billet simultaneously,and it can also choose a certain motor by controlling button.The operation is very easy.
Reprinted Url Of This Article:
http://www.seekic.com/circuit_diagram/Basic_Circuit/oil_crop_screening_and_compaction_controller.html
Print this Page | Comments | Reading(3)
Code: