Published:2011/7/19 23:20:00 Author:chopper | Keyword: seedlings, growth stimulator | From:SeekIC

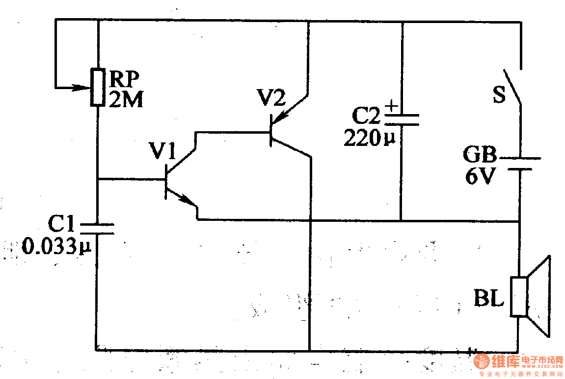
This example describes the seedlings growth stimulator in seedling house,and it is set in the middle of the seedling house which is based on that plants are more sensitive to low-frequency pulse.Thus,users can stimulate the seedlings with its low-frequency pulse,and promote the growth of seedlings.Users can test a small area first, and then put into operation based on the practical situation. The principle of circuitThis seedlings growth stimulator circuit consists of transistors V1,V2,potentiometer RP,capacitors C1,C2,speaker BL,battery GB and power supply switch S which is shown in figure 4-209.
Reprinted Url Of This Article:
http://www.seekic.com/circuit_diagram/Basic_Circuit/seedlings_growth_stimulator_in_seedling_house.html
Print this Page | Comments | Reading(3)
Code: