Published:2009/7/11 1:26:00 Author:May | From:SeekIC



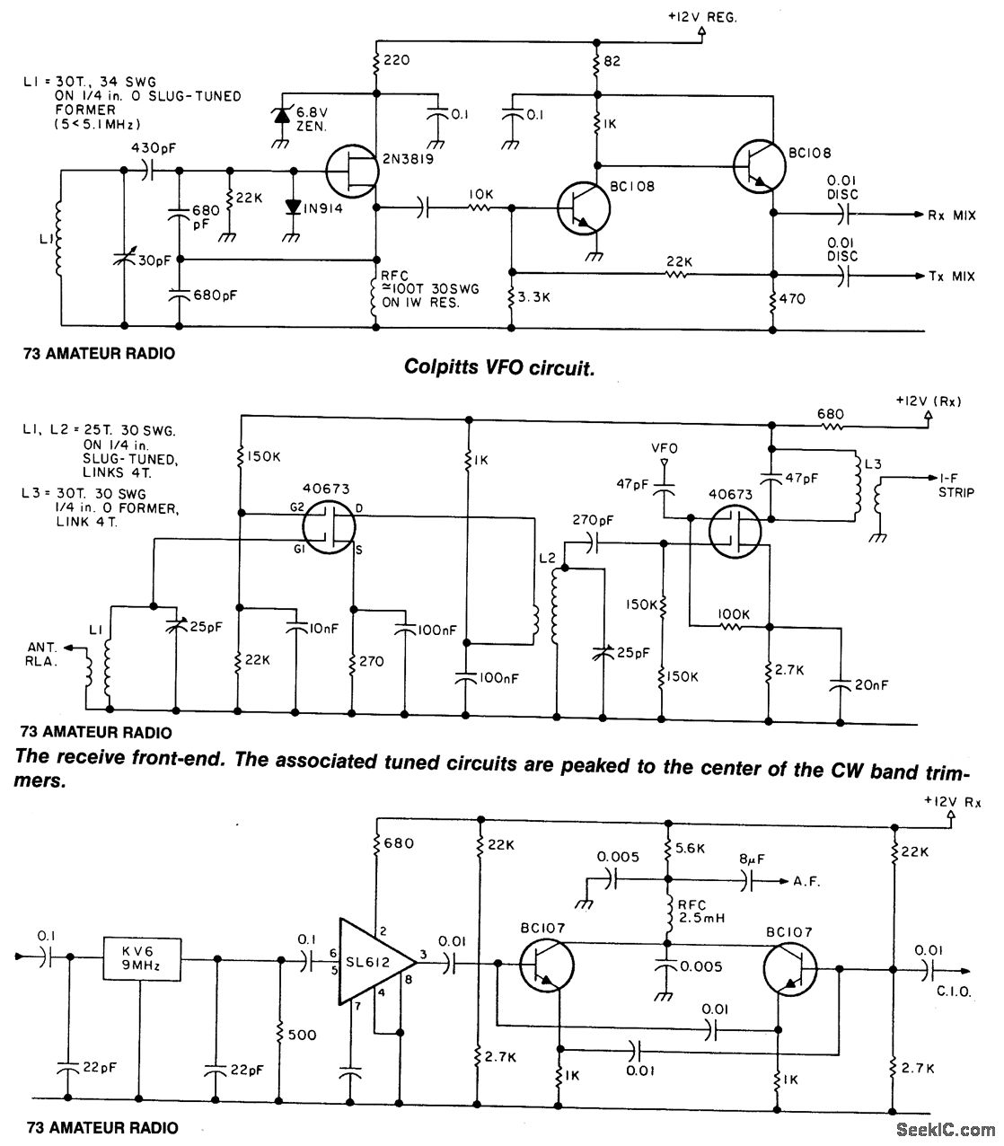
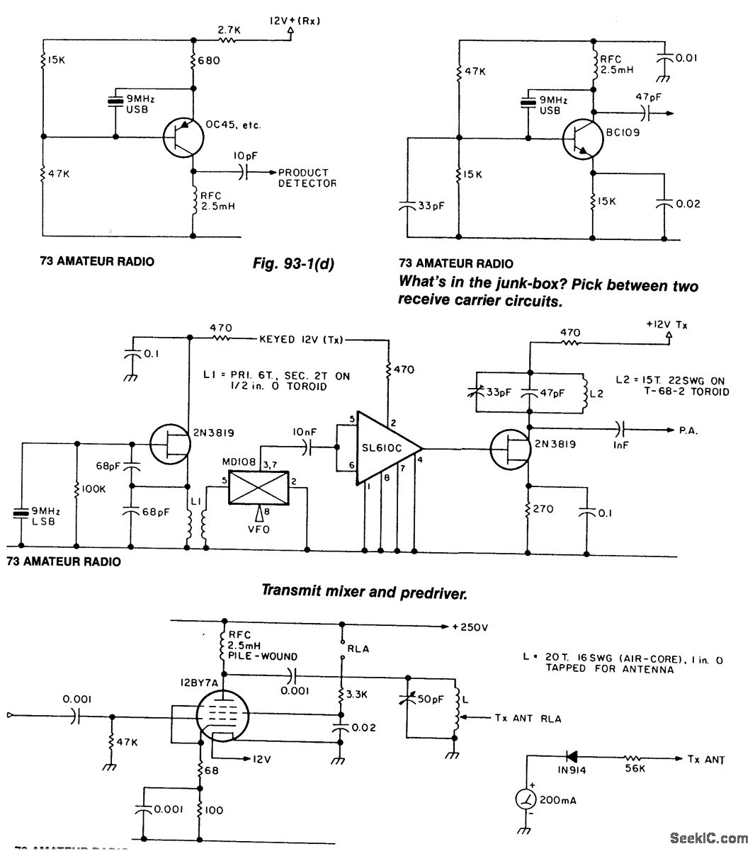
The Colpitts VFO circuit (Fig. 93-1(a)) has gate clamping to improve stability. It is followed by two buffers: the second provides individual outputs to the transmitter and receiver. An RIT circuit operates on receive. The front end uses 40673 dual-gate MOSFETs (Fig. 93-1(b)). The tuned circuits are peaked to the center of the CW band with the trimmer. The mixer output is link-coupled to a KVG 9-MHz SSB filter whose output is amplified by an SL612 IF amplifier IC (Fig. 93-1(c)).The product detector uses two BC107 transistors. Carrier reinjection is from a crystal oscillator using the USB crystal supplied with the KVG filter. Figure 93-1(d) and 93-1(e) contain: an FET oscillator and a pnp bipolar oscillator. Use either or alter the circuit polarities to suit an npn transistor. The transmitter mixer is an MD108 (Fig. 93-1(f)), fed from the VFO and the LSB carrier-injection oscillator.A simple diode/meter circuit measures the relative power output (Fig. 93-1(g)). Sidetone is provided by an NE555 circuit (Fig. 93-1(h)).
Reprinted Url Of This Article:
http://www.seekic.com/circuit_diagram/Communication_Circuit/20_m_CW_TRANSCEIVER.html
Print this Page | Comments | Reading(3)
Code: