Published:2009/7/8 5:11:00 Author:May | From:SeekIC

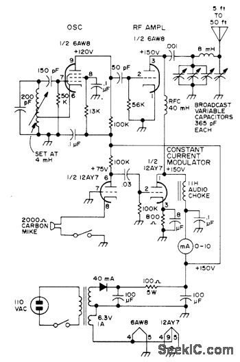
Meets FCC requirement for amateur radio operation in 160-190 kHz band with 1-W maximum plate input power and antenna up to 50 feet long including lead-in.Working range is about 1 mile. Uses electron-coupled oscillator to minimize frequency shift during modulation. RF amplifier is self-biased.40-mH choke in amplifier plate circuit is nearly self-resonant to 180 kHz.-C. Landahl, QRP on 180 kHz, 73 Magazine, May 1973, p 93-95.
Reprinted Url Of This Article:
http://www.seekic.com/circuit_diagram/Communication_Circuit/500_mW_ON_180_kHz.html
Print this Page | Comments | Reading(3)
Code: