Published:2009/7/19 22:23:00 Author:Jessie | From:SeekIC

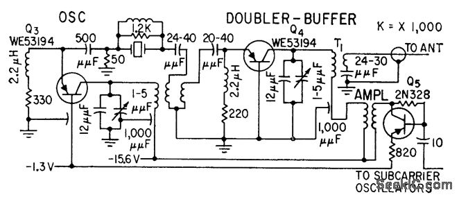
Amplitude modulation is applied at collector of amplifier-doublet Q4.-H. L. Richter et al., Instrumehting the Explorer I Satellite, Electronics, 32:6, p39-43.
Reprinted Url Of This Article:
http://www.seekic.com/circuit_diagram/Communication_Circuit/60_MW_TRANSMITTER.html
Print this Page | Comments | Reading(3)
Code: