Published:2009/7/14 20:58:00 Author:May | From:SeekIC

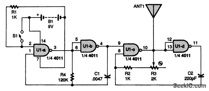
Power for the circuit is supplied by B1, a 9-V battery. Two sections of a 4011 NAND gate, U1-c and U1-d, are used as part of a radio-frequency (RE) oscillator (carrier). The other two sections, U1-a and U1-b, are used in an audio-frequency (AP) oscillator (modulator). Switch S1 enables and disables the modulation to allow the transfer of an intelligent message with the transmitter. When you press S1, the AP oscillator composed of U1-a, U1-b, R4, and C1 starts generating an audio signal.That signal gates the RE oscillator composed of U1-c, U1-d, R2, R3, and C2 on and off. When on, the RE oscillator runs at 1 MHz. The resulting output is sent out ANT1 as an AM signal.
Reprinted Url Of This Article:
http://www.seekic.com/circuit_diagram/Communication_Circuit/AM_TONE_TRANSMITTER.html
Print this Page | Comments | Reading(3)
Code: