Published:2009/6/19 4:24:00 Author:May | From:SeekIC

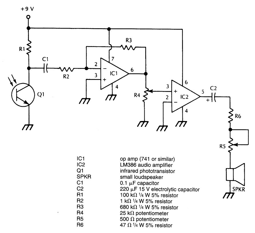
This receiver is designed to demodulate amplitude-modulated (AM) IR light beams and will drive a loudspeaker. R5 is an auxiliary volume control and it could be omitted. Q1 should be suitably mounted and shielded from stray light pickup.
Reprinted Url Of This Article:
http://www.seekic.com/circuit_diagram/Communication_Circuit/AUDIBLE_OUTPUT_INFRARED_RECEIVER.html
Print this Page | Comments | Reading(3)
Code: