Published:2009/6/24 23:14:00 Author:Jessie | From:SeekIC

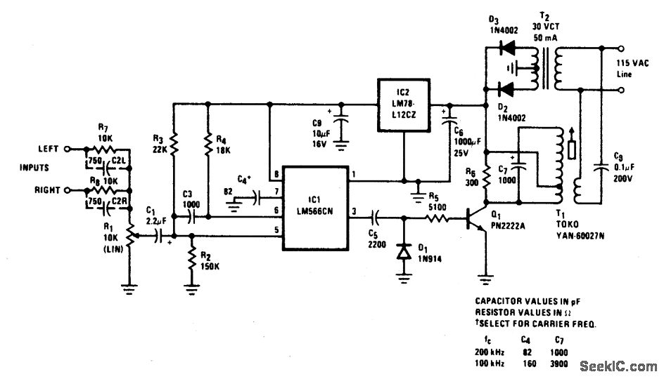
High quality, noise free, wireless FM transmitter/receiver operates over standard power lines. Complete system is suitable for high-quality transmission of speech or music, and will operate from any ac outlet anywhere on a one-acre homesite. Frequency response is 20-20, 000 Hz and THD is under 1/2%. Transmission distance along a power line is at least adequate to include all outlets in and around a suburban home and yard.Two input terminals are provided so that both left and right signals of a stereo set may be combined for mono transmission to a single remote speaker if desired.
Reprinted Url Of This Article:
http://www.seekic.com/circuit_diagram/Communication_Circuit/Carrier_System_Transmitter.html
Print this Page | Comments | Reading(3)
Code: